D_Mac 9,332 #126 Posted May 14, 2021 Reminds me of the movie Fargo. Nice chipper scene in that movie. 2 Share this post Link to post Share on other sites
seuadr 489 #127 Posted June 8, 2021 Yay! my bearings came today! I got both outboard bearings, a new drive pulley, the tapered bushing for the chipper wheel and a new clips and set screws. Also got a new knife kit soon as i get my oliver 550 steering sorted, i should be able to get this thing running! 1 Share this post Link to post Share on other sites
seuadr 489 #128 Posted June 29, 2021 finally had time to start to put this all back together. the bearings were on backorder, but, i have them now. 1 Share this post Link to post Share on other sites
ebinmaine 76,148 #129 Posted June 29, 2021 You know every once in awhile I remember that I told you I'd get the measurements off of my own input chute/ funnel... Share this post Link to post Share on other sites
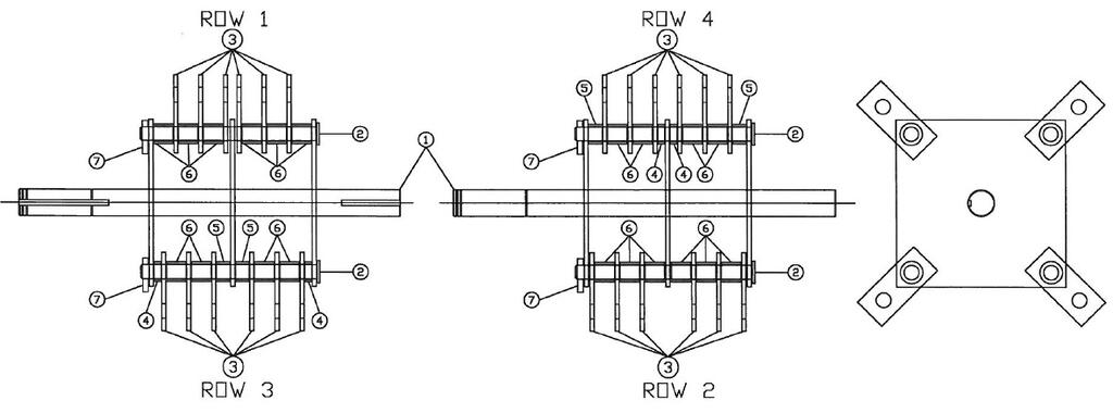
gwest_ca-(File Mod) 11,875 #130 Posted June 30, 2021 Hope the hair pins holding the flail shafts in are temporary for assembly. Have you seen the flail spacer drawing? 1 Share this post Link to post Share on other sites
seuadr 489 #131 Posted June 30, 2021 5 minutes ago, gwest_ca said: Hope the hair pins holding the flail shafts in are temporary for assembly. Have you seen the flail spacer drawing? re: the pins - they are, yeah. i am debating putting in straight pins as the supplier said they no longer have a source for the tapered pins and suggested that i use straight ones, but i feel like i should have something a bit tougher than big box pins so was thinking about exploring the hardware store's pin section to see what they have that might work better. in regards to the spacing, I believe that is how i have them, except that i am missing a couple of the narrower spacers from "row 3" - i was actually considering seeing if i could cut to size some pipe for the purpose. I only have 1 bearing on right now, so i can remove the other side to take the rows on and off. 1 Share this post Link to post Share on other sites
ebinmaine 76,148 #132 Posted May 14, 2022 @seuadr Any updates on this rebuild? On 6/29/2021 at 1:16 PM, ebinmaine said: You know every once in awhile I remember that I told you I'd get the measurements off of my own input chute/ funnel... Did you ever get or do you still need these measurements? 1 Share this post Link to post Share on other sites
seuadr 489 #133 Posted June 13, 2022 On 5/14/2022 at 7:51 AM, ebinmaine said: @seuadr Any updates on this rebuild? Did you ever get or do you still need these measurements? i'm at a stage where i got the non chipper outboard bearing in, the shredder portion and the chipper wheel in, and i got side tracked by a bunch of other things and still need to get the other outboard bearing in. i do not have those measurements, but, since it is still in pieces, while i need them, i don't need them anytime soon 1 Share this post Link to post Share on other sites
ebinmaine 76,148 #134 Posted June 13, 2022 6 hours ago, seuadr said: I do not have those measurements, but, since it is still in pieces, while i need them, i don't need them anytime soon This is good because as you can see it takes me a bit to remember to do things. 😂 Share this post Link to post Share on other sites
seuadr 489 #135 Posted July 1, 2022 On 6/13/2022 at 7:25 PM, ebinmaine said: This is good because as you can see it takes me a bit to remember to do things. 😂 no worries! i'm actually a little concerned about the fitment of the shaft and kinda thinking about taking it to have the balance checked 1 Share this post Link to post Share on other sites
ebinmaine 76,148 #136 Posted July 1, 2022 3 minutes ago, seuadr said: no worries! i'm actually a little concerned about the fitment of the shaft and kinda thinking about taking it to have the balance checked How do you mean? Is it worn excessively on one side or something? Share this post Link to post Share on other sites
seuadr 489 #137 Posted July 1, 2022 41 minutes ago, ebinmaine said: How do you mean? Is it worn excessively on one side or something? no but in cutting the bearing off the one side i scored the shaft a bit deeper than i'd like - it is beyond the bearing surface, but, i'm a little worried about it 1 Share this post Link to post Share on other sites
ebinmaine 76,148 #138 Posted July 1, 2022 5 minutes ago, seuadr said: no but in cutting the bearing off the one side i scored the shaft a bit deeper than i'd like - it is beyond the bearing surface, but, i'm a little worried about it I can see your point of concern there. Couple different sides of the same coin... I know from experience operating my own that it spends and exorbitant amount of time chipping shredding vibrating chopping bopping shaking and generally bouncing all around which makes me wonder how much a little Nick in the shaft is going to matter. Then again, because Mackissic is still in business I would be very prone to sending a picture or two over to them to see what they think With the hammers in there bouncing around at an infinite number of angles it's possible that the rotational balance might not be that much of an issue to them. It's also possible that it's even more important to balance the Center shaft because of that very reason. Share this post Link to post Share on other sites
sjoemie himself 3,106 #139 Posted July 1, 2022 47 minutes ago, seuadr said: deeper than i'd like Depends on how deep the nick is but as long as you did'nt cut the shaft nearly in half I would'nt be too concerned about it. The balance issue can be neglected IMHO since the shaft is in the center of the rotating mass. If for instance one blade of the chipper on the perimeter of the chipper wheel would be missing that would have some serious effect on the balance of the wheel. If you scored the shaft pretty deep that could cause a problem with the structural integrity of the shaft sooner than it resulting in a balance issue. Have any pics of said shaft? @ebinmaine sorry for hacking your thread 1 Share this post Link to post Share on other sites
ebinmaine 76,148 #140 Posted July 1, 2022 1 hour ago, sjoemie himself said: Depends on how deep the nick is but as long as you did'nt cut the shaft nearly in half I would'nt be too concerned about it. The balance issue can be neglected IMHO since the shaft is in the center of the rotating mass. If for instance one blade of the chipper on the perimeter of the chipper wheel would be missing that would have some serious effect on the balance of the wheel. If you scored the shaft pretty deep that could cause a problem with the structural integrity of the shaft sooner than it resulting in a balance issue. Have any pics of said shaft? @ebinmaine sorry for hacking your thread Not my thread brother man. The OP and me both have Mackissic chippers. That said, never ever worry about hijacking or messing around one of my threads. I'll take all the information I can get and sort out what I don't want or need. Especially comedy. Got to have a good time. 1 Share this post Link to post Share on other sites
ebinmaine 76,148 #141 Posted May 14, 2023 @seuadr I found this thread while hunting information so I can disassemble my own chipper shredder to adjust the blade. How's the project going? @gwest_ca Garry if you have any quick advice or comments on removal and replacement of the knife please feel free to chime in. I did read the part about using penetrating oil and picking out the Allen bolt heads ... Share this post Link to post Share on other sites
seuadr 489 #142 Posted May 15, 2023 22 hours ago, ebinmaine said: @seuadr I found this thread while hunting information so I can disassemble my own chipper shredder to adjust the blade. How's the project going? @gwest_ca Garry if you have any quick advice or comments on removal and replacement of the knife please feel free to chime in. I did read the part about using penetrating oil and picking out the Allen bolt heads ... i'm actually looking to get it buttoned up over the next couple of weeks, as we've got a lot of dead limb cleanup and pathways to make on the new property. we moved in to our new house in december. downside is, i lost my shop, but that is temporary. as far as removing the blade bolts, the chipper i have was really rusted and i ended up drilling the head off, then using a smaller bit and an easy out. one wouldn't even come out with that, so i ended up taking it to a machine shop. they re-did all 3 holes with new thread inserts (stainless he said, because it would help with them in the future) 1 Share this post Link to post Share on other sites
gwest_ca-(File Mod) 11,875 #143 Posted May 15, 2023 I heat the heads with a map gas torch to release the Loctite on the threads sometimes twice. First one burns out the debris in the hex hole which is mostly pine pitch. I use a 1/2" manual impact driver to loosen and tighten the screws. 1 Share this post Link to post Share on other sites
seuadr 489 #144 Posted May 15, 2023 11 minutes ago, gwest_ca said: I heat the heads with a map gas torch to release the Loctite on the threads sometimes twice. First one burns out the debris in the hex hole which is mostly pine pitch. I use a 1/2" manual impact driver to loosen and tighten the screws. how close do you need to get the "go/nogo" gauge when checking the blade? I'm not really clear on how to use it (Mackissic sent me one.. maybe a measurement would be easier for me..) Share this post Link to post Share on other sites
ebinmaine 76,148 #145 Posted May 15, 2023 7 hours ago, seuadr said: maybe a measurement would be easier for me..) I'd second that. Share this post Link to post Share on other sites
8ntruck 8,397 #146 Posted May 16, 2023 In regards to the nick in the shaft, the direction of the nick makes a difference. One that is parallel to the axis of the shaft would not worry me as much as one that ran around the shaft. A groove running around the shaft will grow fatigue cracks in the shaft much, much quicker than a groove in line with the axis of the shaft. As Eric points out that shaft takes a beating when in use. 1 Share this post Link to post Share on other sites
seuadr 489 #147 Posted May 16, 2023 13 hours ago, 8ntruck said: In regards to the nick in the shaft, the direction of the nick makes a difference. One that is parallel to the axis of the shaft would not worry me as much as one that ran around the shaft. A groove running around the shaft will grow fatigue cracks in the shaft much, much quicker than a groove in line with the axis of the shaft. As Eric points out that shaft takes a beating when in use. this is uh, at about a 45 with the closest end being in the direction of rotation. i packed it with quicksteel and then sanded it down after it was cured. it is well outside the bearing race so, it is probably OK, it is just someone GAVE me that attachment and i don't wanna ruin it because of negligence. 1 Share this post Link to post Share on other sites
gwest_ca-(File Mod) 11,875 #148 Posted May 16, 2023 On 5/15/2023 at 9:57 AM, seuadr said: how close do you need to get the "go/nogo" gauge when checking the blade? I'm not really clear on how to use it (Mackissic sent me one.. maybe a measurement would be easier for me..) The anvil in the chute is what gets adjusted. I used a piece of 1/16" x the length of the knife aluminum flat stock as a gauge. The hard part is getting the anvil screw heads cleaned out to take an Allen wrench. Heat helps soften the pitch and wood residue from the holes. It took me hours. Placed the aluminum between the knife and the anvil - held it tight and tighten the nuts on the screws. I suspect the early DR chippers and shreaders were supplied by Mackissic. Their replacement knives and flails may be a more economical option. 1 Share this post Link to post Share on other sites
seuadr 489 #149 Posted May 16, 2023 2 minutes ago, gwest_ca said: The hard part is getting the anvil screw heads cleaned out to take an Allen wrench. Heat helps soften the pitch and wood residue from the holes. "Fortunately" mine are brand new. (i use quotes, because they are brand new because i had to have them machined) 1 Share this post Link to post Share on other sites
ebinmaine 76,148 #150 Posted May 16, 2023 @seuadr and @gwest_ca along with whoever else... Thanks for sharing your wisdom and experience here. Share this post Link to post Share on other sites