BradKahler 307 #1 Posted April 10 I'm building a mid mount grader blade for my B80 and I've found a lot of information but I'm lacking a couple of dimensions and an angle. Any chance one of you might have access to one of these and be willing to provide the needed information? Thanks! Brad 4 Share this post Link to post Share on other sites
ebinmaine 78,850 #2 Posted April 10 45 minutes ago, BradKahler said: Any chance one of you might have access to one of these and be willing to provide the needed information? We have a couple Mid Mount Grader Blades here. I can get you those measurements tomorrow. Have you seen the thread that shows the rest of the measurements? 1 Share this post Link to post Share on other sites
BradKahler 307 #3 Posted April 10 34 minutes ago, ebinmaine said: We have a couple Mid Mount Grader Blades here. I can get you those measurements tomorrow. Have you seen the thread that shows the rest of the measurements? Yes, I found a thread that had most dimensions but I wasn't comfortable trying to figure out the angle. I used several different images I found and the camera angle seems to distort the angle enough that each image comes up with different angle. Thanks, any help would be appreciate. 2 Share this post Link to post Share on other sites
DLF 58 #4 Posted April 11 The pivot is mounted at 90 degrees to the frame. That angle is determined by the angle the blade is attached to the pivot. I don't have factory blade to measure. The factory mounted to the top angle of the blade that gave the angle. Go down to " wheel Horse Manuals" and look up 40" grader blade. It gives good pictures. 1 Share this post Link to post Share on other sites
BradKahler 307 #5 Posted April 11 3 hours ago, DLF said: The pivot is mounted at 90 degrees to the frame. That angle is determined by the angle the blade is attached to the pivot. I don't have factory blade to measure. The factory mounted to the top angle of the blade that gave the angle. Go down to " wheel Horse Manuals" and look up 40" grader blade. It gives good pictures. I agree, the parts manual appears to show what would be a 90 mounting. I even found one picture that sort of gives that impression. However, I've found several others t hat are distinctly not 90 degrees to the mounting arm. Needless to say it's very confusing. 1 Share this post Link to post Share on other sites
ebinmaine 78,850 #6 Posted April 12 On 4/10/2026 at 3:12 PM, BradKahler said: Upper distance is approximately 16". Measuring the whole upper frame, from the front, the angled pin sets here. And the rear cross pin is at 18". Lower distance is 3". Angle is approximately 105⁰. 1 2 Share this post Link to post Share on other sites
BradKahler 307 #7 Posted April 13 14 hours ago, ebinmaine said: Upper distance is approximately 16". Measuring the whole upper frame, from the front, the angled pin sets here. And the rear cross pin is at 18". Lower distance is 3". Angle is approximately 105⁰. Perfect!! Exactly what I was looking for. Thank you. 1 1 Share this post Link to post Share on other sites
ebinmaine 78,850 #8 Posted April 13 19 minutes ago, BradKahler said: Perfect!! Exactly what I was looking for. Thank you. Glad to help 1 Share this post Link to post Share on other sites
BradKahler 307 #9 Posted April 16 Thanks to the dimensional info from ebinmaine and the information previously posted by others I've made some progress on fabricating the grader blade components. Other than the block that the lift arm connects to on the main support arm, it's ready to weld together. The blade itself has previously been fabricated. I'm currently waiting on the plate that bolts to the blade, I'm having it bent to shape in a fab shop close by. After that I'll mill the three slots and make the pivot pin. I'm sure the lift arm won't be exactly like an original, but it should be close enough to function. 4 9 Share this post Link to post Share on other sites
ebinmaine 78,850 #10 Posted April 16 32 minutes ago, BradKahler said: close enough to function. Agreed. I'm looking forward to seeing your completed project. 3 Share this post Link to post Share on other sites
kpinnc 18,242 #11 Posted April 17 6 hours ago, BradKahler said: made some progress on fabricating the grader blade components. Looks factory to me. Well done! 3 1 Share this post Link to post Share on other sites
BradKahler 307 #12 Posted April 17 (edited) I tacked welded the lift arm pieces together so I could do a trial fit and everything seems to look good. I'm still waiting on the bracket for the blade so it might be a few days to a week or so before I can get much more done on it. Eric, could I trouble you for one more measurement? I'd like to know the location of the lifting link tab. I'm guessing it's centered side to side, but knowing the fore/aft location would be a big help. Thanks! Edited April 17 by BradKahler 1 Share this post Link to post Share on other sites
ebinmaine 78,850 #13 Posted April 17 25 minutes ago, BradKahler said: Eric, could I trouble you for one more measurement? I'd like to know the location of the lifting link tab. I'm guessing it's centered side to side, but knowing the fore/aft location would be a big help. Thanks! Glad to help. I can get that for you sometime tomorrow. 2 Share this post Link to post Share on other sites
ebinmaine 78,850 #14 Posted April 20 On 4/17/2026 at 11:15 AM, ebinmaine said: Glad to help. I can get that for you sometime tomorrow. OK sooooo tomorrow is actually 3 days... Notice I'm measuring from the SIDE of the large round pin. 1 1 Share this post Link to post Share on other sites
BradKahler 307 #15 Posted April 20 11 minutes ago, ebinmaine said: OK sooooo tomorrow is actually 3 days... Notice I'm measuring from the SIDE of the large round pin. Perfect!! Thank you 1 1 Share this post Link to post Share on other sites
Chrishar 985 #16 Posted April 21 Where did you find the measurements to make the frame part I have the blade but I don't have the frame if you could give me the measurements that would be nice thank you 2 Share this post Link to post Share on other sites
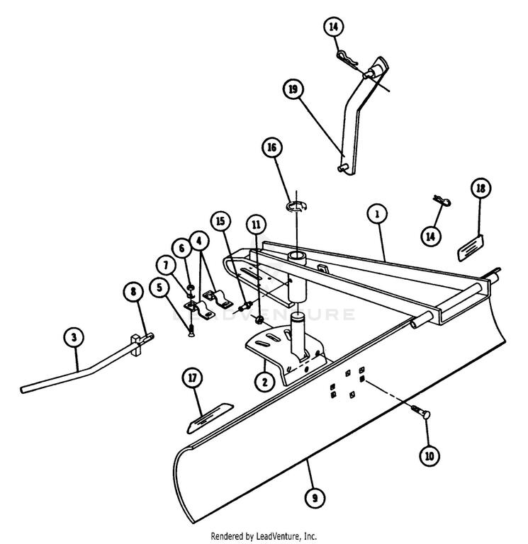
BradKahler 307 #17 Posted April 21 Along with the pictures provided by ebinmaine in this thread, these are the pictures I found on here on Red Square in a couple of different posts. So far they have given me all the information needed to fabricate the lift arm assembly. Moderator, if I shouldn't have posted these pictures, please delete them. 2 1 Share this post Link to post Share on other sites
Chrishar 985 #18 Posted April 21 Thank y'all for the information 3 Share this post Link to post Share on other sites
ebinmaine 78,850 #19 Posted April 21 (edited) 20 hours ago, BradKahler said: Along with the pictures provided by ebinmaine in this thread, these are the pictures I found on here on Red Square in a couple of different posts. So far they have given me all the information needed to fabricate the lift arm assembly. Moderator, if I shouldn't have posted these pictures, please delete them. Some or all o' those are mine too. I'm fine with the repost. That's what we're here for. Edited April 22 by ebinmaine CORRECT AUTOCORRECT 2 2 Share this post Link to post Share on other sites
BradKahler 307 #20 Posted April 24 (edited) Getting closer to having it finished. I'm just about finished with the sector plate, just need to file the three slots to width and then weld the round bar to the sector plate. Also I still need to work out the adjusting arm, but I have enough pictures that I don't think it's going to be too difficult. Once I'm sure everything fits properly I'll get it all welded and painted. Edited April 24 by BradKahler 2 4 Share this post Link to post Share on other sites
sqrlgtr 2,926 #21 Posted April 24 2 hours ago, BradKahler said: Once I'm sure everything fits properly I'll get it all welded and painted. @BradKahler WHOA WHOA, WHOA, I see a big problem here, you should be making two and sell me one 5 Share this post Link to post Share on other sites
BradKahler 307 #22 Posted April 25 13 hours ago, sqrlgtr said: @BradKahler WHOA WHOA, WHOA, I see a big problem here, you should be making two and sell me one Well dang, I'm sorry to have to report that the window for ordering has expired... I'm glad you like the progress so far! I've got to file two of the slots in the sector plate to size, tack weld the shaft to the sector arm and then do a trial fit on the tractor. If all goes well it then next up will be a lot of welding, cleaning, and painting. 3 Share this post Link to post Share on other sites
sqrlgtr 2,926 #23 Posted April 25 2 hours ago, BradKahler said: window for ordering has expired... I guess my coupon is null and void also? 1 Share this post Link to post Share on other sites
BradKahler 307 #24 Posted April 25 6 minutes ago, sqrlgtr said: I guess my coupon is null and void also? I tried to put in a good word for you with with senior management but they said there's nothing they can do about it. If they made an exception for one person then that would set a dangerous precedent 2 Share this post Link to post Share on other sites
BradKahler 307 #25 Posted April 25 I forgot to mention I also still need to fabricate the adjusting handle. Stay tuned.... 3 Share this post Link to post Share on other sites