About This File
IPL #331-963
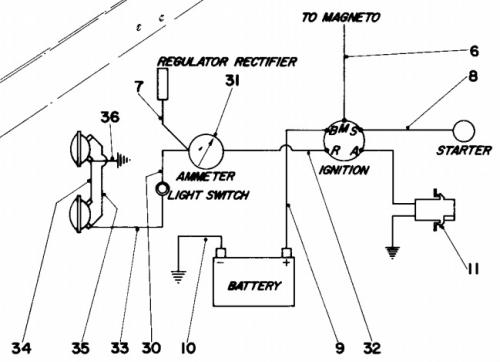
Wiring
Specs
20 pages 1.40MB
Formerly Springfield
Details and attachments
2 pages 105.40KB
1970 8hp 800 Recoil model number 55003 Serial 000001-099999 - Recoil start using B&S 190702
Details and attachments
2 pages 105.00KB
1970 8hp 800 Electric model number 55051 Serial 000001-099999 - Electric start using B&S 190707
