tallen4392 71 #1 Posted November 30, 2020 Anyone know where I can get the gas shutoff valve that comes out on the left side for a charger 12 ??? Share this post Link to post Share on other sites
ebinmaine 78,232 #2 Posted November 30, 2020 I can't actually help you with availability but I'm curious to see what others will say..... Share this post Link to post Share on other sites
tallen4392 71 #3 Posted November 30, 2020 I have been looking for one but no luck yet ?? Share this post Link to post Share on other sites
ebinmaine 78,232 #4 Posted November 30, 2020 3 minutes ago, tallen4392 said: I have been looking for one but no luck yet ?? I've never actually been able to find one of those either. I'm hoping somebody else chimes in with a source for them because I'd like to use them on several tractors. it's certainly easier to reach right to the side of the tractor than to try to cram my hand up underneath the gas tank to shut the fuel off Share this post Link to post Share on other sites
gwest_ca-(File Mod) 12,146 #5 Posted December 1, 2020 The 8023 valve is still available from Toro but -------https://www.partstree.com/parts/toro-8023/ Click on the picture Garry Share this post Link to post Share on other sites
gwest_ca-(File Mod) 12,146 #6 Posted December 1, 2020 Possible alternatives https://www.aircraftspruce.ca/catalog/appages/15-05420.php?gclid=EAIaIQobChMI_Zm9tdSr7QIVyrzACh270QCjEAQYASABEgLg3fD_BwE or https://www.aircraftspruce.ca/catalog/appages/ffv4.php?gclid=EAIaIQobChMI_Zm9tdSr7QIVyrzACh270QCjEAkYCCABEgIVjPD_BwE or https://www.tractorsupply.com/tsc/product/raider-shut-off-valve-1-4-in Garry 2 Share this post Link to post Share on other sites
ebinmaine 78,232 #7 Posted December 1, 2020 40 minutes ago, gwest_ca said: Possible alternatives https://www.aircraftspruce.ca/catalog/appages/15-05420.php?gclid=EAIaIQobChMI_Zm9tdSr7QIVyrzACh270QCjEAQYASABEgLg3fD_BwE or https://www.aircraftspruce.ca/catalog/appages/ffv4.php?gclid=EAIaIQobChMI_Zm9tdSr7QIVyrzACh270QCjEAkYCCABEgIVjPD_BwE or https://www.tractorsupply.com/tsc/product/raider-shut-off-valve-1-4-in Garry Like those bottom 2 Garry. Thanks! Share this post Link to post Share on other sites
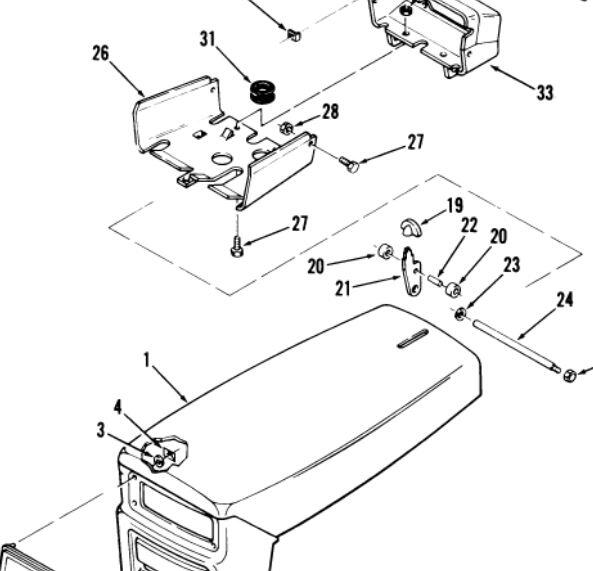
Wheelynice 5 #8 Posted December 4, 2020 I am in the same boat.. finally got my B-112 running and seems there is a leak at this valve. Seems part #8023 S/A (#12 in the picture) is what I need, but I am not about to spend the approx. $50 for a replacement after checking online via Toro, and via some of the other online links.. Thanks for the links Garry.. I'll try one of those. Looks like a trip to Tractor Supply I guess. On other matters, I also need a few other items: - the gas tank return spring; seems expensive to pay +/-$10 for a spring (that is part #10) in the attached first picture. I guess I'll check my local Lowe's or Home Depot. Anybody have a better source or know the size for that spring? Also where does the fuel tank hold down anchor to (see item #26, third picture). I can't find any pictures showing how this tank was anchored. There seems to be a 'tang' (not sure what to call it) adjacent to where nut #28 would fasten (third picture) but there is no symmetrical tang on the opposite side of the assembly, so not sure how the strap works.. If anybody can show me how this was supposed to be anchored, I'd appreciate it.. - battery hold down; I assume there is supposed to be a hold down or strap. Does anybody have any idea what was used on these B-112s? Mine is a 02-TTBX01-2197 9324 (which I have come to learn is a 1979 model).. - Also still need the mower deck pulley as well (they are quite expensive).. if anybody has one they are willing to sell, i'd be interested. Other than the spring, which I probably can source fairly easily from any local hardware store, not sure about the other items.. Appreciate any help on the above issues.. Thanks all for the help.. Share this post Link to post Share on other sites
Greentored 3,220 #9 Posted December 4, 2020 I've had luck through the years sealing similar type shutoffs with a small o ring or even a very thin sliver of vacuum tubing- something that fits somewhat snug over the needle and will fit down inside the nut. Snug it up just enough so it doesn't leak or you wont be able to spin the valve. Obviously, anything used thats not fuel proof isnt going to last forever, but I've never had to go back and replace one during the time I had whatever it was in my possession. For 20 cents versus 50 bucks, I'd sure give it a try or 10 Share this post Link to post Share on other sites
tallen4392 71 #10 Posted December 4, 2020 Thanks it says the one at tractor supply is for fuel for 15.99 they are in stock I think ill get one today and try it Thanks Garry 1 Share this post Link to post Share on other sites
ebinmaine 78,232 #11 Posted December 4, 2020 19 minutes ago, tallen4392 said: Thanks it says the one at tractor supply is for fuel for 15.99 they are in stock I think ill get one today and try it Thanks Garry Please keep us posted about what you find and how it works, etc. I'd like to know for future reference as well... Share this post Link to post Share on other sites
gwest_ca-(File Mod) 12,146 #12 Posted December 4, 2020 Mine is a 02-TTBX01-2197 9324 This is a 1980 model but it was made in late 1979. 9324 is the Julian build date - 324th day of 1979 There are two item #10 springs listed in the parts list but it fails to identify what models use what. There are 4 different engines listed so the list is shared by at least 4 tractor models. If we hade an original parts list it would be identified. Click on the fuzzy picture in the link for more. Share this post Link to post Share on other sites
tallen4392 71 #13 Posted December 5, 2020 Should work says for fuel might last 1 Share this post Link to post Share on other sites
Wildhorse 303 #14 Posted December 5, 2020 I restored a Charger 12 last year and found valve on eBay. $8 search 20-8675 1/4" gas fuel tank shut off valve. Looks like original one. Over a year of use and no problems Share this post Link to post Share on other sites
ebinmaine 78,232 #15 Posted December 5, 2020 20 minutes ago, Wildhorse said: I restored a Charger 12 last year and found valve on eBay. $8 search 20-8675 1/4" gas fuel tank shut off valve. Looks like original one. Over a year of use and no problems That's the type that goes in the bottom of the fuel tank. @tallen4392 is looking for the one that mounts to the outside of the steering tower on the left. Share this post Link to post Share on other sites
tallen4392 71 #16 Posted December 5, 2020 Bought it today and installed it works like it should hope it lasts for a while Thanks 1 Share this post Link to post Share on other sites
Wheelynice 5 #17 Posted December 6, 2020 On 11/30/2020 at 2:55 PM, tallen4392 said: Anyone know where I can get the gas shutoff valve that comes out on the left side for a charger 12 ??? Share this post Link to post Share on other sites
Wheelynice 5 #18 Posted December 6, 2020 Thanks everyone.. I think I'll try and see if there's a seal in the valve I can replace.. I have a harbor freight assortment of o-rings. I've never taken the shut-off apart.. Maybe it's feasible to repair it. Failing that.. seems there are plenty of other options. Anyone have any idea how the tank strap was supposed to anchor? Can't quite tell from the parts diagram..and to be frank, I don't have that one picture (of course..there's always something missed). Anyway, thanks much for those diagrams. They are very helpful. I can see that the battery originally just had some simple j-bolts for holdowns.. 1 Share this post Link to post Share on other sites
Wildhorse 303 #19 Posted December 11, 2020 On 12/4/2020 at 10:11 PM, ebinmaine said: That's the type that goes in the bottom of the fuel tank. @tallen4392 is looking for the one that mounts to the outside of the steering tower on the left. It mounts to steering tower just like original one. Mounted fine on charger 12. Removed nut for valve and put through hole and replaced nut. 1 Share this post Link to post Share on other sites
Wheelynice 5 #20 Posted December 26, 2020 On 12/6/2020 at 1:27 PM, dantheman said: Thank everyone for the input.. anyone have any idea about the tank strap? I have a few other bugs I still haven't haven't resolved.. Any idea why my engine races just off idle.. Just seems to run too fast (I don't think the governor is stuck) I've rebuilt the carb. and have the primary idle and main mixture screws set per typ. recommendations (I think I've got the idle at 1 1/2 turns out and the main about the same). I don't think I have any gasket leaks, but wonder if I shouldn't check the valves? Also, attached is a picture of a seal that came in the carb rebuild kit from Briggs. Though that perhaps it was meant for the idle jet, but the carb didn't seem to have any o-ring or seal for that jet.. I tried putting the seal in, but the float was way too high. Any idea where this seal is meant to go? Perhaps another version of the choke-a-matic carb? Do I need this seal for something? Share this post Link to post Share on other sites
adsm08 4,352 #21 Posted December 27, 2020 Is this is? https://isavetractors.com/fuel-tank-fitting-for-non-threaded-plastic-fuel-tanks/ Share this post Link to post Share on other sites
Howie 900 #22 Posted December 27, 2020 That is the seat for a briggs carb, have to pull the old one out and replace with that. Side with the groove in it goes in first. 1 Share this post Link to post Share on other sites
Wheelynice 5 #23 Posted December 28, 2020 Thanks Howie - Are you referring to a seal for the jet that attaches to the float? I thought this was it, but I wasn't able to pull any seat out. I tried a narrow diameter punch (to try and wedge and pull something up), but I didn't want to risk damaging the bore and there didn't seem to be any maleable type seal in there.. Is there a specialized tool for this? Is it possible that the factory seat in there is brass? Share this post Link to post Share on other sites
Wheelynice 5 #24 Posted December 28, 2020 adsmo8 - That looks like it. Does anyone know if the original has a seal in it that can be replaced? Share this post Link to post Share on other sites
Howie 900 #25 Posted December 29, 2020 You should be able to it it down in there if it uses one. I use a small knitting needle with the hook to pull them out. Does the needle on your float have a viton tip on it? If it does there will not be one of those in there. It will have a brass one pressed in there. They can be replaced but have to be pulled out and pressed back in. Share this post Link to post Share on other sites