richmondred01 2,365 #1 Posted July 30, 2018 I’m installing an electrical lift on a 520-8. All the mechanical is done. I’m not an electrical guy so I’m a bit stumped. I can’t find anywhere where it’s shown how to wire an electric lift to a 520-8. Most likely because they only made 225. On my 418-8 the wiring goes to the hour meter, amp gauge and solenoid. The onan has a solenoid on the starter but I don’t believe I should place it there. Should I use the amp and hour gauges.? What about the pig tail? any help would be greatly appreciated. Share this post Link to post Share on other sites
KC9KAS 4,746 #2 Posted July 30, 2018 29 minutes ago, richmondred01 said: The onan has a solenoid on the starter but I don’t believe I should place it there. Your manual says to install the + (hot/power) wire to the BATTERY side of the solenoid....same as attaching to the + side of the battery. It also shows a 25 amp fuse. Share this post Link to post Share on other sites
richmondred01 2,365 #3 Posted July 30, 2018 Ok I’ll hook this to the battery Share this post Link to post Share on other sites
richmondred01 2,365 #4 Posted July 30, 2018 How about the pigtail? Share this post Link to post Share on other sites
richmondred01 2,365 #5 Posted July 31, 2018 Any thoughts.? Share this post Link to post Share on other sites
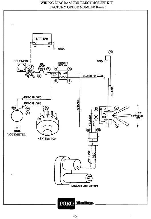
gwest_ca-(File Mod) 12,195 #6 Posted July 31, 2018 That pigtail must be the wire going to the voltmeter. You could hook it to any circuit that is powered by the accessories terminal on the ignition switch. It does not draw much power as it just closes the relay that powers the lift circuit. Easier to understand if you look at the diagram near the end of the manual. Garry Share this post Link to post Share on other sites
richmondred01 2,365 #7 Posted July 31, 2018 Only one of the two pigtails need to go to the positive side of an accessory? Share this post Link to post Share on other sites
gwest_ca-(File Mod) 12,195 #8 Posted July 31, 2018 30 minutes ago, richmondred01 said: Only one of the two pigtails need to go to the positive side of an accessory? Yes. They both do the same thing. There plan is to pull the + wire off the voltmeter, plug that wire to one connector on the pigtail and the other goes on the voltmeter. Good way to make a connection without cutting wires. Just noticed they do not have the relay illustrated properly. They show the relay coil energized (6&7) which pulls the relay contacts (4&5) apart which opens the circuit. It should show (4&5) connected when the coil is energized. Should look like this but neater. When not powered the relay is open as shown. The little box in the relay is the coil that becomes magnetic when powered. Pulls the relay contact down making the connection. Garry Share this post Link to post Share on other sites
richmondred01 2,365 #9 Posted July 31, 2018 Ok. So one goes to the + side of the volt meter and the other pig tail goes to the + of the hour meter? or just one of the pig tails goes to the volt meter and the other hangs free? Share this post Link to post Share on other sites
gwest_ca-(File Mod) 12,195 #10 Posted July 31, 2018 11 minutes ago, richmondred01 said: Ok. So one goes to the + side of the volt meter and the other pig tail goes to the + wire you took off the voltmeter. or just one of the pig tails goes to the volt meter and the other hangs free? If you end up using just one wire of the pigtail make sure the other one is well insulated so it does not cause a short. They are both live with the ignition key in the RUN position. Garry Share this post Link to post Share on other sites
richmondred01 2,365 #11 Posted July 31, 2018 Ok. Got it. I’m a bit thick headed with electrical stuff. I’m always afraid of burning stuff up. im a grease and oil guy not a diode and resistor guy. thank you. I will get to work on this later today, Share this post Link to post Share on other sites
gwest_ca-(File Mod) 12,195 #12 Posted July 31, 2018 It is exercises like this where you gain an understanding of how those invisible electrons behave. If in doubt ask questions. Garry 1 Share this post Link to post Share on other sites
richmondred01 2,365 #13 Posted July 31, 2018 I get it now. this pink wire appears to be the one to tap into. Share this post Link to post Share on other sites
midpack 1,139 #14 Posted July 31, 2018 I just went through this on a C-175/8. All you need is a "key on" power supply to trigger the relay for full power from the battery to the electric motor. I had heard that you shouldn't use the lift unless the motor is running but I think that's untrue. All I found was a notification that using it without the motor running could run the battery down. Share this post Link to post Share on other sites
richmondred01 2,365 #15 Posted July 31, 2018 Thanks guys. I just hooked it up. It works like a champ. 1 Share this post Link to post Share on other sites