Jump to content
Newbiehorse

in need of....

Recommended Posts

Newbiehorse

guys I have a charger 10. it wont start or turn over. I figured out it was the starter solenoid.  everything is painted red so I cant find a part number anywhere. does anyone know the part number or where I can get the part asap?

Share this post


Link to post
Share on other sites
 
pfrederi

Solenoids are pretty much universal.  Big box stores Lowes Home depot usually have them.  Some may have two small terminals instead of one but they will still work on your horse

  • Like 2
  • Excellent 1

Share this post


Link to post
Share on other sites
 
Newbiehorse

cool thanks a lot

 

Share this post


Link to post
Share on other sites
 
pfrederi
2 minutes ago, Newbiehorse said:

cool thanks a lot

 

Home depot  you will need to use the grounding wire included

hd.JPG

  • Like 2

Share this post


Link to post
Share on other sites
 
Newbiehorse

ok replaced the solenoid and didnt fix it.  it runs when we jump across the terminals but wont turn it over on its own.

Share this post


Link to post
Share on other sites
 
953 nut
On 3/17/2018 at 2:37 PM, Newbiehorse said:

everything is painted red

Be sure the solenoid has a good ground, one of the small terminals must be grounded. Use a test light or meter to see if you have 12 volts going to one of the small terminals when the key is in the start position. hd.JPG.ea02d88f7619c37182801e755776512e.JPG

Share this post


Link to post
Share on other sites
 
Newbiehorse

i used a test light to make sure the key switch was working properly  but never checked the solenoid with it. ill check when i get home

Just now, 953 nut said:

Be sure the solenoid has a good ground, one of the small terminals must be grounded. Use a test light or meter to see if you have 12 volts going to one of the small terminals when the key is in the start position. hd.JPG.ea02d88f7619c37182801e755776512e.JPG

 

  • Like 1

Share this post


Link to post
Share on other sites
 
rmaynard

Check the safety switch on the clutch/brake pedal.

Share this post


Link to post
Share on other sites
 
Newbiehorse
Just now, rmaynard said:

Check the safety switch on the clutch/brake pedal.

wouldnt that keep it from running all together?

Share this post


Link to post
Share on other sites
 
rmaynard

What year is your Charger 10? On the 1972, it's only in the start circuit. 

Share this post


Link to post
Share on other sites
 
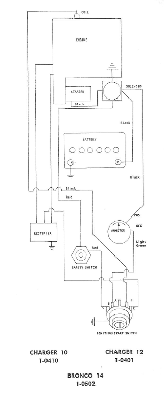
rmaynard

 

1972 with Kohler Engine

c-10.png.b9f72b22e4951f52d948f43515777161.png

 

 1969 with Tecumseh Engine

 

image.png.13cd5bc3df122ca84ddb48027340f7d9.png

Edited by rmaynard
added 1969 wiring diagram

Share this post


Link to post
Share on other sites
 
Newbiehorse
Just now, rmaynard said:

What year is your Charger 10? On the 1972, it's only in the start circuit. 

not sure the year. previous owner didnt know much about it. and i have no idea on how to find out

Share this post


Link to post
Share on other sites
 
953 nut

On the riser below the steering wheel there should be a tag with a model number on it.

 

Share this post


Link to post
Share on other sites
 
midpack
3 hours ago, Newbiehorse said:

ok replaced the solenoid and didnt fix it.  it runs when we jump across the terminals but wont turn it over on its own.

I had a machine that did that, it ended up being the oil level safety switch.

Share this post


Link to post
Share on other sites
 
rmaynard

The 1969 has a Tecumseh engine with no solenoid. The starter circuit goes directly from the battery through a high amperage switch to the starter. The 1972 has a Kohler engine with a solenoid to power the starter. 

 

Neither engine has a oil level switch.

Share this post


Link to post
Share on other sites
 

Create an account or sign in to comment

You need to be a member in order to leave a comment

Create an account

Sign up for a new account in our community. It's easy!

Register a new account

Sign in

Already have an account? Sign in here.

Sign In Now

×
×
  • Create New...