Jump to content
thehorse

Reverse to neutral/forward

Recommended Posts

thehorse

Hello all,

Yesterday I narrowly avoided a bad situation. My 520h has been a little finicky when going from reverse to neutral/forward. Seem to just want to keep going in reverse and have to apply the brake to get neutral. Sometimes with a stomp on the brake. Well I was in reverse heading to a steep ditch when It would not go into neutral. I ended up down the ditch which has a 2 1/2 foot steep drop off. Scary as heck and demolished the stacked stone wall of the ditch but was just happy I was still on top of tractor. I tried adjusting the cam but can’t seem to get it where it needs to be. Any suggestions would be greatly appreciated. Until I get this figured out, the 314-8 will be in service.

Share this post


Link to post
Share on other sites
 
JCM

Good place to start is the lower console plate and make sure everything is clean all around the linkages in that area. Then go to the Manuals section and study the Eaton 1100 adjustment procedures. They are pretty much a bulletproof tranny.   Good Luck

  • Like 1

Share this post


Link to post
Share on other sites
 
squonk

The cam probably has a groove worn in it where the plate rides on it. Replace both pieces.

Share this post


Link to post
Share on other sites
 
Lee1977
4 minutes ago, squonk said:

The cam probably has a groove worn in it where the plate rides on it. Replace both pieces.

That was the problem with mine. I replaced both plus new stainless steel brass lined heims joints on the rod. Before you could hardly get it out of reverse had to hit the brakes to get it stopped.

Share this post


Link to post
Share on other sites
 
Handy Don

Scary way to learn a lesson about the power of the 520 and the need to keep on top of power train maintenance. Glad you came out of it ok!

 

I fully second the new plate and the eccentric cam nut if, after examination, they show wear (which especially affects changing direction). Wear on the eccentric nut/pivot looks like "flats" being worn into the side of the circular pin and wear on the cam plate looks like a "wallowing out" of the curved slot. Look closely at the manual illustrations to see what unworn items look like!

 

I would postpone Heim joint replacement unless you detect  damage, specific excess play, or impeded motion in the ones you have.

 

The adjustment sequences for the motion control (there is a basic one and then a more involved one) in the manual work very well and it took me only about 10 minutes to tweak my Eaton after installing a complete linkage in a roller (it took longer to get it on and off the jack stands). Please heed the advice to do the adjusting while the rear wheels are safely off the ground--safer for you and with no travel resistance, you can easily observe when the transmission is in the neutral position.

Share this post


Link to post
Share on other sites
 
thehorse

Thank you for the good info. I hope to look at things later in the week. It’s been so hot that after working in the heat all day, the tank is empty when I get home. Was wondering where I would find a new plate and eccentric cam nut? As always, I thank you ahead of time. 
thanks,

Len

Share this post


Link to post
Share on other sites
 
JCM

Toro dealer or Parts Tree, still available.

  • Like 1

Share this post


Link to post
Share on other sites
 
Handy Don
9 minutes ago, JCM said:

Toro dealer or Parts Tree, still available.

Be sure to have checked your machine's IPL before ordering to make sure you get the right ones!

Share this post


Link to post
Share on other sites
 
thehorse

IPL?

Share this post


Link to post
Share on other sites
 
JCM

@thehorse    Do you know the Model number of your machine on the VIN # label ?  Not just 520 - H.

Share this post


Link to post
Share on other sites
 
thehorse

Model-73502

SN-6902262

Share this post


Link to post
Share on other sites
 
thehorse

Seems good…no grooves or visible wear…..

8FCA59E0-F926-43D8-80FF-1C3912896006.jpeg

Share this post


Link to post
Share on other sites
 
wallfish
31 minutes ago, thehorse said:

IPL?

I= Illustrated

P= Parts

L= List

  • Like 1

Share this post


Link to post
Share on other sites
 
JCM

1996 520-H    Go on Parts Tree and look at the exploded view to see if that helps. Part #s, price and availability.

Share this post


Link to post
Share on other sites
 
Handy Don
22 hours ago, thehorse said:

Seems good…no grooves or visible wear…..

8FCA59E0-F926-43D8-80FF-1C3912896006.jpeg

Groove seems ok (but the picture doesn't show the tricky spot around neutral--it is under the cam nut). Also, the picture doesn't show the sides of the cam nut shaft to check for wear. 

Do you have the manual?

Have you followed the motion adjustment sequence fully and carefully?

Have you inspected the rest of the linkage for wear, maladjustment, damage, or lubrication?

What level of mechanical and diagnostic ability do you have?

 

This is the Eaton 1100 manual with the detailed diagnostic and adjustment descriptions.

 

Edited by Handy Don

Share this post


Link to post
Share on other sites
 
thehorse

Model-73502

SN-6902262

Share this post


Link to post
Share on other sites
 
thehorse

Thanks to all….

Been working outside forming concrete, pouring concrete, decking, etc… in the 90’s. I can’t get motivated enough to tackle currently…. And my back is in need of surgery shooting pain down my leg….. will have to run the 314-8 till I can manage all the craziness. I’ll study the manual tonight…thanks for sharing and hope to begin Saturday. 

Share this post


Link to post
Share on other sites
 
Tuneup

You'll remove that adjustment cam and will see the extreme wear on it. It'll be evident. My 516 was a mess: Rod was loose, cam and plate worn. They'll appreciate some attention as will you.

 

Oh, make sure the cam rides smoothly in the new plate path if you replace both. My plate required a fair amount of grinding to make it effortless.

Edited by Tuneup
  • Like 1

Share this post


Link to post
Share on other sites
 
thehorse

So I got the issue taken care of.  I adjusted the linkage and the cam and it’s back to cutting grass.

thank you all!!

  • Thanks 1

Share this post


Link to post
Share on other sites
 
Handy Don
1 minute ago, thehorse said:

So I got the issue taken care of.  I adjusted the linkage and the cam and it’s back to cutting grass.

thank you all!!

Good to hear and thanks for letting us know!

Share this post


Link to post
Share on other sites
 
lynnmor

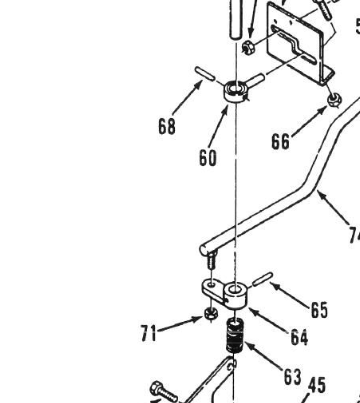
I just lost forward and reverse control on a 520H, the pin in the motion control rod backed out.  Detail 65 is the one.

 

image.png.fe65a69e2fbce58537aa08e931d90b47.png

Share this post


Link to post
Share on other sites
 
Handy Don
3 hours ago, lynnmor said:

I just lost forward and reverse control on a 520H, the pin in the motion control rod backed out.  Detail 65 is the one.

 

 

:( Bummer. That one is not in a very accessible place, either.

Share this post


Link to post
Share on other sites
 
lynnmor
1 hour ago, Handy Don said:

:( Bummer. That one is not in a very accessible place, either.

 

Yes, it was no fun.  I had a stump grinder guy there and was going to use the loader to remove the mulch immediately.  I picked up the first scoop and couldn't back up.  The motion lever was loose so I removed the console panels and found the problem.  Then I started the tractor and drove it back to the barn by operating the linkage in the console.  The pin was still sticking out where I didn't see it till I got a mirror and flashlight.  After aligning the holes with a nail, Channel Lock pliers was used to push the pin back in.  This will not be a permanent fix but it should hold for a short time till I drive a new pin in while forcing the old one out.  I might buy a cheap C-clamp and modify it to allow the old pin to go thru the fixed end.  Wheelhorse uses a 7/32" X 1" Spirol pin that should last forever, but they wear and chip away over time.

Share this post


Link to post
Share on other sites
 
Handy Don
3 hours ago, lynnmor said:

 

...Channel Lock pliers used to push the pin back in.  This will not be a permanent fix but it should hold for a short time till I drive a new pin in while forcing the old one out.  I might buy a cheap C-clamp and modify it to allow the old pin to go thru the fixed end.  Wheelhorse uses a 7/32" X 1" Spirol pin that should last forever, but they wear and chip away over time.

What, is this something you can't fix with duct tape? 

Or you could just leave the C-clamp on there, right?

:lol:

Great that you didn't actually lose the pin so you can operate pending the good fix.

Share this post


Link to post
Share on other sites
 

Create an account or sign in to comment

You need to be a member in order to leave a comment

Create an account

Sign up for a new account in our community. It's easy!

Register a new account

Sign in

Already have an account? Sign in here.

Sign In Now

×
×
  • Create New...